您好!欢迎来到重庆天洁彩钢板有限公司官方网站

重庆天洁彩钢板有限公司

专业生产彩钢净化板、手工板,彩钢岩棉板,机制硅岩板,玻镁板,钢质门、铝型材配件、风淋室等
24小时服务热线
023-46251586
          新闻动态
         最新新闻

重庆天洁彩钢板有限公司

联系人:徐先生

电话:023-46251586

手机:13883831016

传真:023-46251586

地址:重庆市荣昌区博耐特工业园B区,坐落于成渝地区双城经济圈内

         联系我们
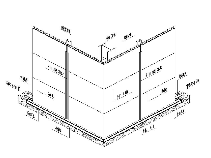
重庆机制硅岩板的安装方法及施工注意事项
来源: | 作者:重庆机制硅岩板 | 发布时间: 2020-07-02 | 433 次浏览 | 🔊 点击朗读正文 ❚❚ | 分享到:
(1)、认真学习施工图,根据施工图选好安装立面,确定安装基准. 
(2)、根据施工图板的编号,安装起始板并调整;起始板的底部(侧边)依靠起始支架固定,安装结束用水平尺复合板的水平度,测量板的安装精度±2mm。当确认安装精度完全符合安装公差时,再用自攻钉将外墙板同次结构固定;
(3)、每安装5排外墙板必须测量一次安装公差,并进行调整;
(4)、在门窗、开洞及建筑物的阴阳角处,根据需要现场切割外墙板。
(5)、板安装好后别忘记撕掉表面的聚乙烯保护膜 
(6)、相邻柱距间的材板应检查板缝的平直度并及时调整,避免出现错台现象
(7)、转角板可在墙面板安装完成后再安装,也可最先安装,安装方法同墙面板,同时控转角板对应两个墙面的板缝线及对接缝的垂直度。 详图如下 



分享到:
当前位置: